132****1981浏览了此店铺
-
旗舰店
商城类型
-
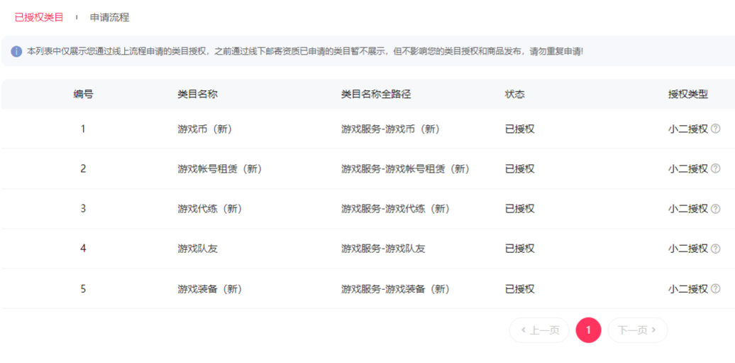
网游及QQ
主营类目
-
否
提供货源
-
10000.00
注册资本
-
华东地区
所在地区
-
无贷款
贷款状态
-
2022
入驻时间
-
自有商标
商标属性
-
R标
商标类型
-
小规模纳税
纳税人类型
-
否
绑定代记账
-
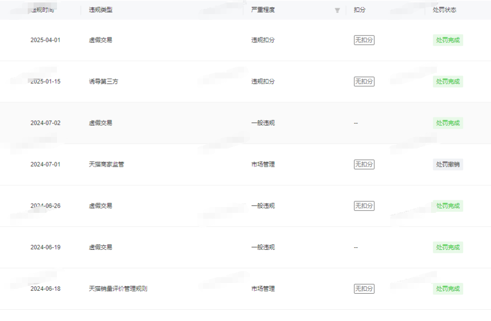
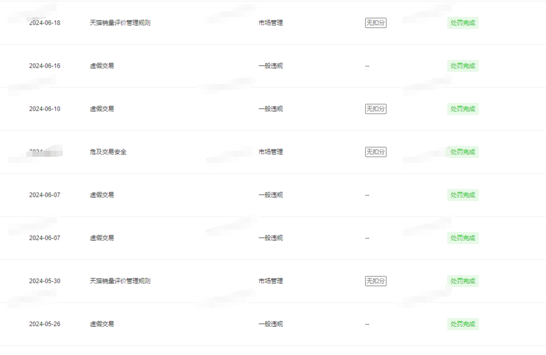
0分
一般违规
-
0分
严重违规
-
0分
售假违规
微信扫码联系客服
微信扫码联系客服









川公网安备 51010602000012号