138****9779浏览了此店铺
-
淘店
网店类型
-
家居用品
商城类目
-
全部
商城类型
-
全部
商标类型
-
2021
入驻时间
-
95+
收藏人气
-
企业
认证信息
-
华南地区
所在地区
-
2024年
公司注册时间
-
一般纳税人
纳税类型
-
10000.00
注册资金
-
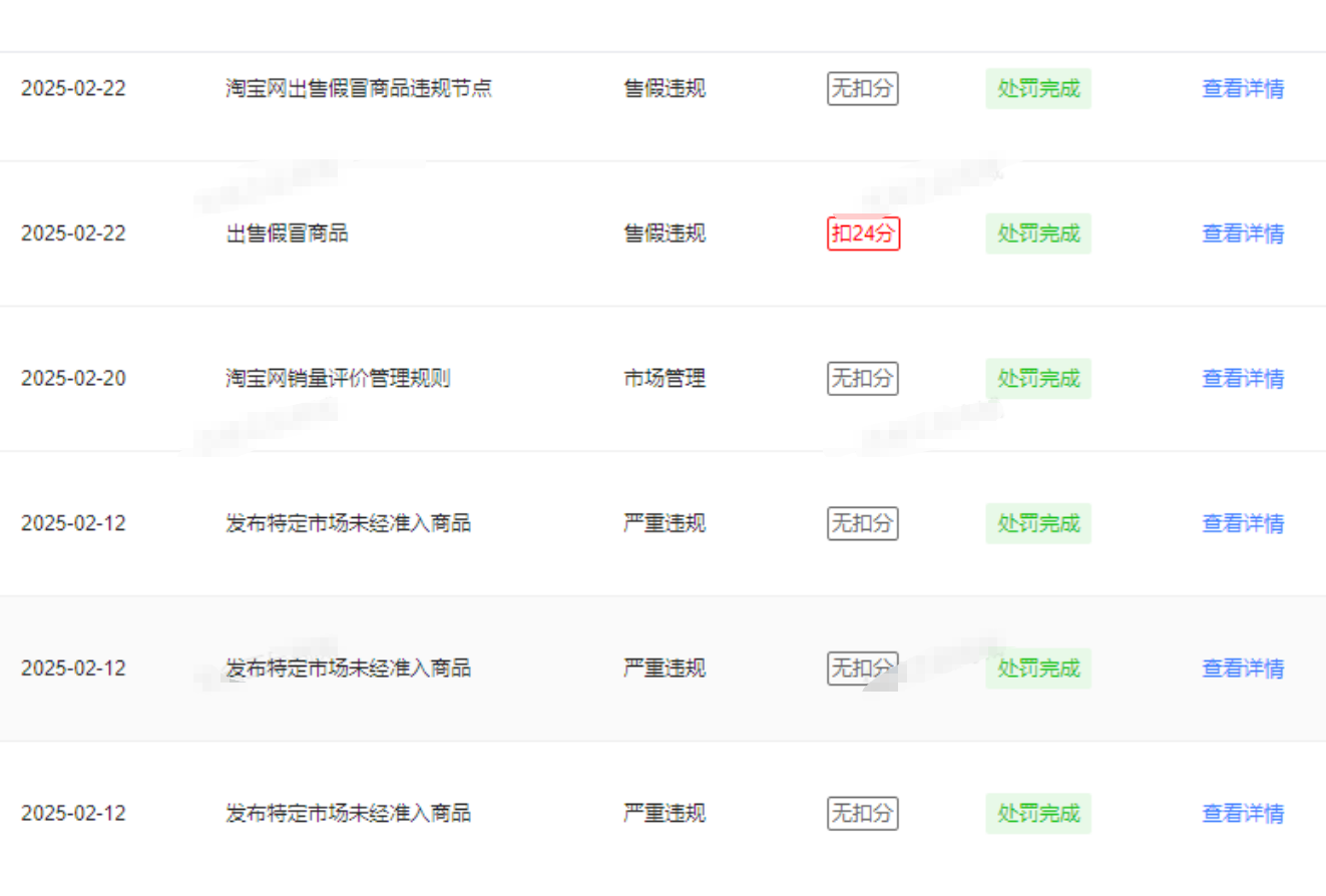
0分
一般违规
-
0分
严重违规
-
0分
售假违规

微信扫码联系客服


川公网安备 51010602000012号