182****9095浏览了此店铺
-
淘店
网店类型
-
其他行业
商城类目
-
全部
商城类型
-
全部
商标类型
-
2021
入驻时间
-
0+
收藏人气
-
个人
认证信息
-
华中地区
所在地区
-
年
公司注册时间
-
/
纳税类型
-
0.00
注册资金
-
0分
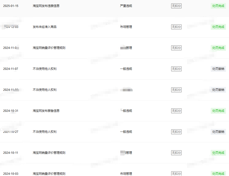
一般违规
-
0分
严重违规
-
0分
售假违规

微信扫码联系客服








川公网安备 51010602000012号