182****8718浏览了此店铺
-
抖小店
网店类型
-
信誉等级
-
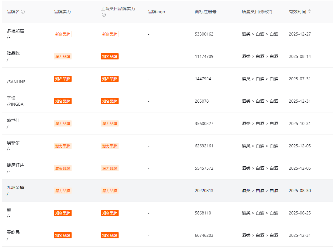
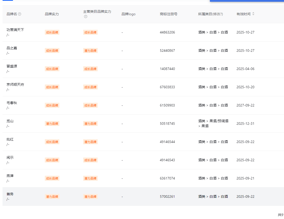
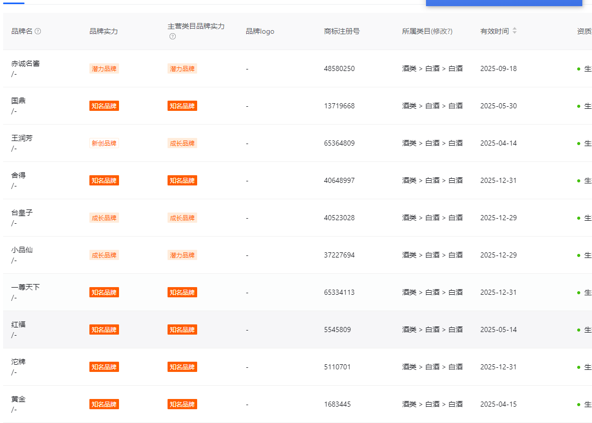
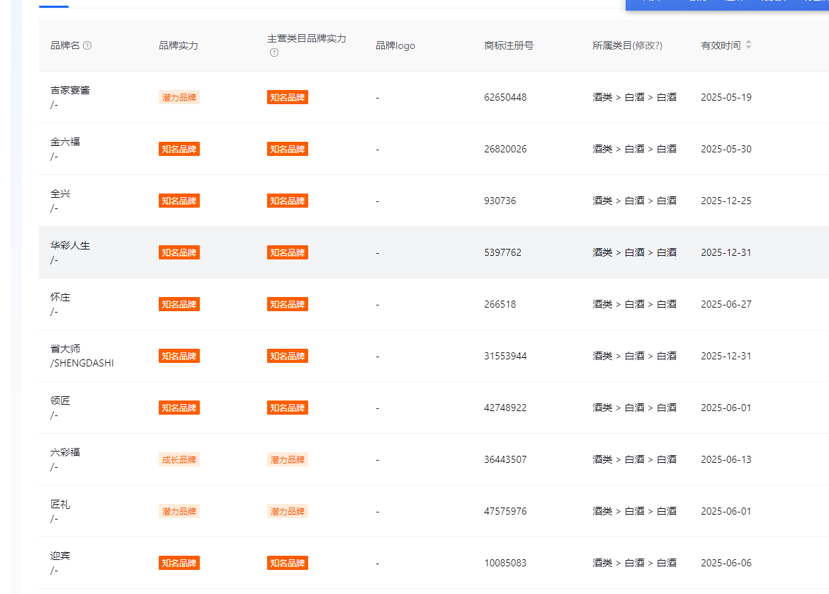
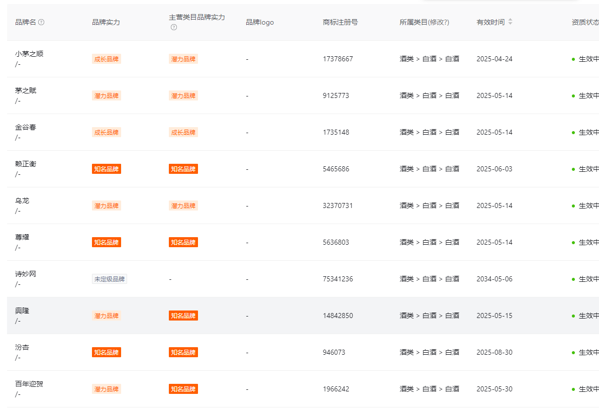
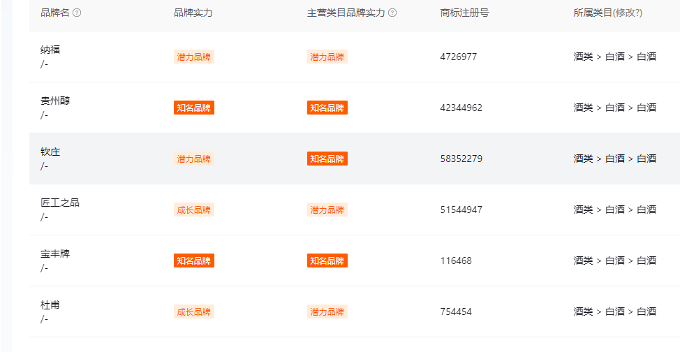
酒类
商城类目
-
专营店
商城类型
-
全部
商标类型
-
2024
入驻时间
-
0
商品销量
-
企业
认证信息
-
西南地区
所在地区
-
2024年
公司注册时间
-
/
综合体验
-
/
商品体验
-
/
服务体验
-
/
物流体验
-
小规模纳税
纳税类型
-
100.00万
注册资金
-
0分
一般违规
-
0分
严重违规
-
0分
售假违规












川公网安备 51010602000012号