135****8588浏览了此店铺
-
专卖店
商城类型
-
服饰
主营类目
-
否
提供货源
-
10000.00
注册资本
-
华南地区
所在地区
-
/
贷款状态
-
/
入驻时间
-
授权商标
商标属性
-
R标
商标类型
-
一般纳税人
纳税人类型
-
否
绑定代记账
-
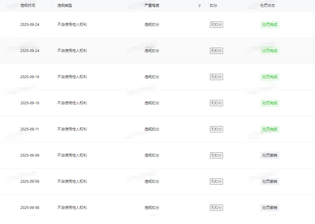
0分
一般违规
-
0分
严重违规
-
0分
售假违规
微信扫码联系客服


川公网安备 51010602000012号